氣動蝶閥生產廠家-銳爾閥門:專業為客戶提供電動蝶閥價格/氣動蝶閥型號/氣動球閥工作原理/電動球閥圖片等資訊
隨著科技不斷發展,各行各業都離不開的流體系統,為滿足需求也在不斷的更新完善。而在流體系統中作為最關鍵的位置之一“閥門”也因不同的工況環境,應運而生的出現了各種適應不同作用、介質、溫度、壓力、環境的閥門。
今天大家就跟茂北閥門一起學習一下氣動單座調節閥與氣動雙座調節閥有什么區別!
雖然氣動單座調節閥與氣動雙座調節閥只有一字之差,但他們卻屬于兩種不同結構的閥門,單座調節閥與雙座調節閥所適合的使用工況也是不同的。
氣動單座調節間的結構區別:
氣動單座調節閥閥體內只有一個閥芯和一個問座。由閥桿帶動閥芯上、下移動來改變閥芯閥座之間的相對位置,從而改變流過閥的流量。因為它是單閥芯結構,容易密a閉,甚至可以完全切斷,因此其結構上又分調節型和切斷型,它們的區別在于閥芯形狀不同,前者力柱塞形,后者為平板形。由于單座閥只有一個閥芯,流體對間芯的推力不能像雙座閥那樣能互相平衡,因此不平衡力較大,尤其在高壓差、大口徑時,不平衡力更大,所以單座閥僅適用于低壓差的場臺,否則必須選用大推力的氣動執行機構或配上閥門定位器。

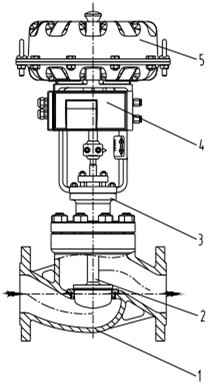
1.閥體2、閥芯3、閥蓋4、定位器5.執行機構
氣動雙座調節聞的結構區別:
氣動雙座調節閥雙座調節閥有正裝和反裝兩種。正裝時,閥芯向下位移,閥芯與閥座間的流通面積減少;反裝時,閥芯向下位移,閥芯與閥座間的流通而積增大。氣動雙座調節閥之所以叫雙座問是因為調節閥閥體內有兩個閥芯和閥座,流體作用于上下閥芯的推力方向是相反的,推力接近而大致抵消,所以雙座閥的不平衡力很小,閥前后可以有較大的壓差,但是由于閥體內流路復雜,用于高壓差是對閥體的沖蝕較產重。此外,由于上下兩問芯不易同時關嚴,關閉時泄漏量大。

1.悶蓋2.密封墊3、導向套4.下閥座5.密封墊6閥體7.上閥座8.閥芯9、密封墊10.閥蓋11.填料12.隔套13.填料14.0型圈15.壓套16.壓板17.防塵圈18.閥桿19. 對夾指示塊 20. 執行機構
總結:
氣動單座調節閥與氣動雙座調節閥的區別是單座閥的泄露量小,允許差壓小,流通能力小。適用于要求泄露量小和差壓小的場合,氣動雙座調節間的允許使用差壓大,比同口徑的單座閥流通能力大,泄漏量大。適用于對泄需量要求不嚴格和差壓較大的場合。
上一條:電動管夾閥技術選型 下一條:沒有數據了